分汽缸、分集水器
一、产品概述
规格范围:φ150-2000mm。分集水器工作压力:0.1-1.6MPa,分汽(气)缸工作压力根据用户具体要求制作。
分集水器适用范围:广泛应用于热水锅炉系统、中央空调系统、工业循环系统等冷热水的分配和集中。
分汽缸适用范围:将电厂提供的蒸汽或锅炉运行时所产生的蒸汽分配到各路管道中去。分汽缸系特种设备,属压力容器。广泛应用于发电、石油化工、印染、钢铁、水泥、建筑等行业。
分集水器、分汽(气)缸长度的确定:可根据工艺设计所需要的接管的直径、数量和排列顺序,选择相邻接管中心距计算总长度。也可根据用户具体要求定制。

二、设计、使用注意事项
1、分集水器、分汽(气)缸产品大小、接管大小及配套法兰公斤级可根用户具体要求。
分集水器材质可以为:不锈钢、碳钢、碳钢内外热浸镀锌。
2、蒸汽分汽缸一般材质可以为碳钢、低合金钢。空气分气缸材质一般可以为:不锈钢、碳钢、低合金钢、碳钢内外热浸镀锌。
3、底部应设有排污管接口,一般选用 DN50。
4、每台分气缸均需按国家标准制造、检验与验收。分汽(气)缸出厂时由工厂检验合格后经当地质量技术监督局监检出厂,确保分气缸质量万无一失。
5、分集水器应由具有压力容器制造许可证资质的厂家制作。
分汽缸
分汽缸是蒸汽系统中用于集中分配蒸汽的关键设备,其作用类似于“蒸汽枢纽”,将来自锅炉或主蒸汽管道的蒸汽均匀分配到多个支路中,同时平衡压力、减少波动,并可能集成疏水、排污等功能。

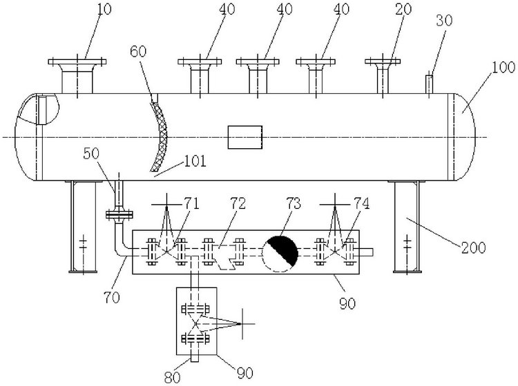
图中:100-缸体、200-支座;
10-进汽口、20-安全阀口、30-压力表口、40-出汽口、50-排污口、60-过滤网、70-疏水管路、80-疏水旁路、90-保护套管、101-间隙;
71-前截止阀、72-过滤器、73-疏水阀、74-后截止阀、81-旁路截止阀。
一、分汽缸的核心功能
蒸汽分配
将单一蒸汽源分配到多个用汽设备(如换热器、灭菌设备、工艺管道等),确保各支路流量均衡。
通过内部挡板或均流设计避免蒸汽短路或局部压力不均。
压力稳定
缓冲蒸汽压力波动,减少因用汽设备启停导致的系统冲击。
杂质分离
部分分汽缸设计有内置疏水装置(如疏水阀或排污口),可分离冷凝水和杂质,提高蒸汽干度。
安全保护
通常配备安全阀、压力表等附件,超压时自动泄放,保障系统安全。
二、分汽缸的结构与设计要点
主体结构
筒体:碳钢或不锈钢材质,需按压力容器标准(如ASME或GB150)设计制造。
进出口布置:主蒸汽入口位于顶部或侧部,支路出口根据需求分布。
内部挡板:避免蒸汽直接冲击筒壁,延长设备寿命。
关键附件
疏水阀:排除冷凝水,防止水锤现象。
压力表/温度计:实时监控运行状态。
安全阀:设定压力需高于工作压力10%。
设计参数
工作压力、温度、容积需根据系统最大负荷计算,通常预留20%余量。
三、应用场景
工业领域:化工厂、制药厂、食品加工等需多路蒸汽供应的场景。
暖通系统:医院、酒店等集中供暖系统中分配蒸汽至换热机组。
发电厂:辅助蒸汽系统向不同汽轮机支路供汽。
四、选型与维护建议
选型原则
根据蒸汽流量、压力、支路数量选择容积和接口尺寸。
优先选择带疏水、排污功能的集成化设计。
维护要点
定期检查焊缝、法兰密封性,防止泄漏。
清理疏水阀和排污口,避免堵塞。
五、常见问题与解决
问题1:支路蒸汽流量不均
→ 检查分汽缸内部挡板是否损坏,或调整出口阀门开度。
问题2:压力波动大
→ 确认安全阀和压力表是否正常,必要时增设缓冲罐。
如需更具体的参数计算或案例设计,可进一步提供系统需求(如蒸汽流量、压力等),以便针对性分析。
分气缸是锅炉的主要配套设备,用于把锅炉运行时所产生的蒸汽分配到各路管道中去,分汽缸系承压设备,属压力容器,其承压能力,容量应与配套锅炉相对应。分汽缸主要受压元件为:封头,壳体材料等。广泛用于发电、石油化工、钢铁、水泥、建筑等行业;可以同时满足供热与制冷的需要,其广泛应用于锅炉、中央空调、工业循环冷却水系统、热水系统。
分气缸特点
1、规范化生产。无论分气缸产品大小其环缝均采用自动焊焊接工艺,产品美观、安全可靠。
2、品种齐全,适用范围广。工作压力最高可达16Mpa。
3、产品质量保证。每台分气缸均按国家标准制造、检验与验收。分气缸出厂时由工厂检验合格后经当地质量技术监督局监检出厂。确保分气缸质量万无一失。分气缸检验合格证明图纸等。
4、用户有特殊要求时,可根据分气缸用户需要设计制造。
分气缸结构
分气缸是锅炉的主要配套设备,用于把锅炉运行时所产生的蒸汽分配到各路管道中去,分气缸系承压设备,属压力容器。分气缸的主要功能是分配蒸汽,因此分气缸上有多个阀座连接锅炉主汽阀及配汽阀门,以便将分气缸中蒸汽分至各需要之处。分气缸主要受压元件为:配汽阀座、主汽阀座、安全门阀座、疏水阀座、压力表座、温度表座;封头、壳体、法兰材料均为Q235-A/B、20g、 16MnR,规格型号为φ159-φ1500,工作压力为1-16MPa,工作温度:0-400℃,工作介质:蒸汽、冷热水、压缩空气。
分气缸技术规范
按《压力容器规程》规定设计,确定简体直径、材质及厚度,一般原则:简体直径应为最大接管管径的2-2. 5倍,一般可按筒体内流体流速确定,材质10#-20#无缝管、Q235B、 20g、16MnR板材卷制,接管数由工程设计决定。分气缸的规格为DN200-DN1200,具体容器的容积由用户确定,设计压力一般为1.43MPa,设计温度<350℃,工作介质为蒸汽,容器类别为I类压力容器。用户有特殊要求时,可根据分气缸用户需要设计制造。